I had to flip the image to match the trace side. I couldn't see the component values, but that is not important. Looks like with the switch on, receive passes through C3 because the RX signal is too weak to forward bias any of the diodes.
Transmit is the interesting part, and with those diodes, I am reminded of two youtube videos, one from Applied Science (his NMR video), and W2AEW's video (#200), both talking about lambda/4 networks that block only strong signals (but I don't know the cap values so I cannot confirm if that's what is going on here).
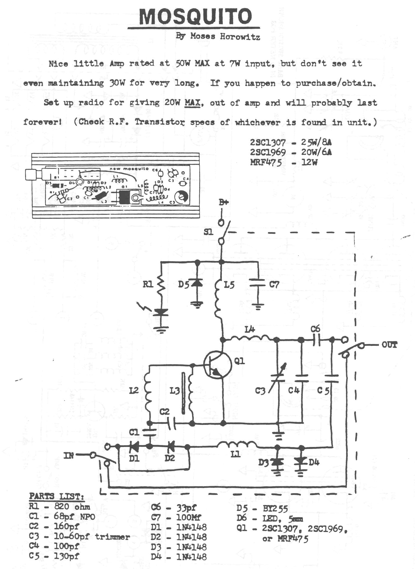
D1-D6 appear to be 4148's, but I think D7 is a zener.
As for troubleshooting, we could start poking around to see what's going on if you are up to it. I don't know the current rating of your supply but dropping a whole volt while it's just idling is not good.
If you want to pay the shipping, I could fix the collector trace and put the transistor back in its holes, and maybe even figure out the issue, but keep in mind that USPS and UPS have been having serious package theft issues lately, and since it's not worth the insurance, mailing it is a gamble.
edit, forgot to label the inductor above D4, that one is L2
edit2, a few captain cokes and a doobie later and I don't see any of that neat lambda/4 stuff is happening, idk. maybe ill see it again tomorrow lol